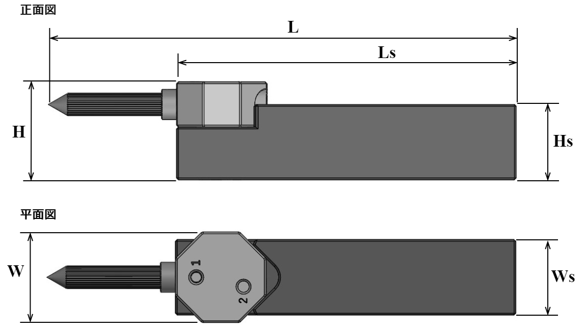
製品仕様
ホルダ商品コード |
対象ブラシ商品コード |
シャンク高さ |
高さ |
シャンク幅 |
幅 |
シャンク長さ |
全長 |
---|---|---|---|---|---|---|---|
TM-SH-S2020 |
A11-TB06 A21-TB06 A32-TB06 |
20 |
26 |
20 |
24 |
90 |
124 |
TM-SH-S2525 |
25 |
31 |
25 |
24 |
100 |
134 |
※全長Lは新品状態のブラシを取付けた際の寸法です。